热点内容:

2018年电影大全

歌手2

奥斯卡

春晚

陈立农陈立农

陈伟霆陈伟霆

吴宣仪吴宣仪

范丞丞范丞丞

首页 >娱乐资讯 >八卦吐槽 >《全员加速中》2和《天天向上》改版后,能拯救湖南卫视吗?

《全员加速中》2和《天天向上》改版后,能拯救湖南卫视吗?

2016年05月03日 11:170365经典网365j

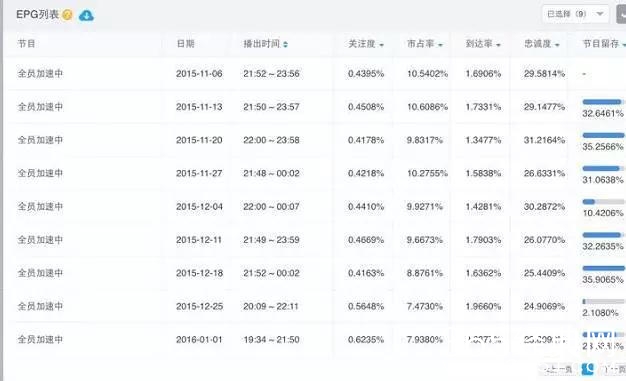
近日,《全员加速中》第二季挪到黄金档回归,全国网收视率2.08%,号称同时段排名第一。不过根据酷云的数据,《全员加速中》平均关注度为0.585%,排名第一的《跑男4》关注度为1.241%,《跑男来了》为0.814%。

52e0008ff86d4b2c2fa.jpg

从内容上看,相比第一季,《全员2》听取了大量观众的吐槽和建议,把日本模式改成了“韩国泡菜味儿”。不过,大多数人对第一期《冲破美人鱼魔咒》的观感是,节奏太慢,既不刺激,又不搞笑。

至于档期后移的《天天向上》,由汪涵、钱枫、大张伟、王一博组成“新天天兄弟”,在新的舞美、包装、节目形态上都有了更强的视觉冲击力。节目主线变成了“对抗”,同时增加了嘉宾的才能展示,最后两队PK的胜方将获得捐赠天天图书馆的权利。是的,欧弟田源换成了大张伟,小五换成了王一博,基本格局和内容多少有点“换汤不换药”的感觉。

当然,这也算意料之中,以上两档节目不管怎么改版,都拯救不了湖南卫视的周五档。且不说《跑男4》已经积累了三季的庞大粉丝和收视惯性,每期节目CSM52城收视率稳定在3.6%以上。就算没有《跑男》,湖南卫视接下来一整年的战略布局,其实已经暴露了它危机四伏的根本原因。

52d0008ff65e08f4fbd.jpg

在湖南卫视二三季度的编排表上,我们能看到《真正的男子汉》2、《偶像来了》2的身影,此前这两档节目的收视、口碑并不好。至于为何不愿放弃失败的IP,业内人士普遍认为:“湖南人骨子里都是很倔强的,只要是他们认准的东西,始终觉得可以扭转乾坤。”另一方面,原本与灿星合作的电音类节目《盖世英雄》,原本也出现在名单上,但后来转移到了江苏卫视。据知情人士透露,深层原因正是因为湖南卫视方面认为,“这毕竟是灿星的节目”。

能改的全改了,为什么《全员加速中》第二季依旧逗不笑观众?

必须承认,第二季第一期,被迫剪掉黄景瑜、许魏洲的镜头,多少造成了节目的损失和困扰。

撇开上述因素不谈,单从产品体验上,《全员》2改掉了第一季的诸多毛病。

第一,在人选上,从18人删减到10人。保留了贾乃亮、杜淳、田亮等综艺咖,新增了95后的“美人鱼”林允,接下来也要加重宋小宝、贾玲等喜剧演员的运用。遗憾的是,或许节目组和嘉宾都不知道该怎么玩,以至于明星们的段子和包袱,总散发着一股“为了搞笑而搞笑,游离在剧情外”的尴尬。

其二,简化游戏规则。割舍掉三大时空的设定,放弃了于正的编剧团队,保留了“追逃”的核心。为了不放追逃太单一,第二季编剧们做了大量加法,如让嘉宾完成任务拆开宝盒、设置分组对抗、新增女猎人、开展水下追逃等。

遗憾的是,上述玩法的逻辑都不够严密。如开宝盒的过程,允许转赠,要么得到一颗心,要么10秒后释放猎人,真心不够刺激;再比如,设计分组pk,原本是为了让竞争更激烈,但几乎所有人都是散兵作战,无法构成紧张感。而说到女猎人的出现,本应是最大的惊喜,但结果符号意义在于实际意义,与男猎人的功能毫无区分,水下追逃环节只是画面美,起到的作用也很小。

如果说第一季猎人、明星的力量太悬殊,没跑几分钟可能就被猎人抓捕。那么第二季的弊病,就在于商店道具实在太神奇,一个龟壳就能让明星高枕无忧、猎人束手无策,而吹一下海螺就能轻易控制女猎人,获得项链,简单得像过家家。也就是说,只要有一方过于强势,另一方的努力、突破和逆袭都会失去想象力。综上,想升级综艺笑果,路子是对了,但在编剧的内容设计、具体执行上,显然还没想明白。

《天天向上》改版:增加素人表演部分,大张伟不输欧弟、王一博有待成长

再说档期挪后的新《天天向上》,不论是舞美、包装,颇有迎合年轻人口味的视觉冲击力。第一期主题是《世界双胞胎大对决》,邀请了twins组合,在环节设计上,添加了两队PK环节,节目重点已经从明星挪到了(半)素人身上。

在主持人的配置上,汪涵依旧是核心,贫嘴的大张伟的加入无疑是最大的惊喜,接过了欧弟的活儿,段子一个接着一个,也不会让人觉得尴尬和腻。至于新人王一博的加入,定位相当于俞灏明和小五,看着舒服,有需要的时候秀一秀才艺。刚开始还是有点紧张和放不开,但算得上一个成长型的角色。

曾经的《天天向上》,期期都以礼仪公德文化教育为结尾。改版之后,每期都会自制一个几分钟的《天天》公益片,如第一期讲述的就是“低头族的危险”,以古装戏为包装,延续了原版寓教于乐的趣味性。节目的末尾,最后两队PK的冠军得主可以获得捐赠“天天图书馆”的权利,嗯,公益元素已经成为电视节目的装箱必备了。

看第一期还挺新鲜的,只要不抱有太高的期待,想必也不会有多大的失望。但小娱认为,如果它能适当增加户外活动的环节,可看性会大大增强。不过,这也与新制作团队有关。据悉,《天天》改版是经过招标竞争的,最终总制片人由沈欣搭档。面对棚内节目被唱衰的质疑,沈欣也曾在接受采访时回应过,棚内因为固定在某一个区域,在目前这个阶段,想象力会有所不足。而他要做的,就是提高它的想象力和丰富度,让观众不至于在观看过程中因为细节不到而发生疲劳。

其实呢,换档期已经说明了一切。毕竟,棚内节目它已经有《快乐大本营》这张王牌了。目前湖南卫视最迫切需要的,是一档站得住脚、撑得起场面的户外真人秀。

第一季跌至第三,湖南卫视遭遇危机的最大原因在于体制漏洞?

当然,比起单个节目的收视压力和内容创新,整个湖南卫视的颓势恐怕才是最恐怕的。从第一季度的卫视排名看,湖南卫视霸主威风不再,跌至第三。而4月份的收视数据出炉后,它依旧没有竞争力,不少媒体甚至称其遭遇了十年来最大的危机。

反观迅速崛起的东方卫视,在脱口秀上手握《金星秀》、《欢乐喜剧人》等IP,在户外真人秀领域推出的《花样姐姐》2、《极限挑战》2势头也不错。而它的老对手浙江卫视,《跑男》4、《2016好声音》等“综N代”节目接踵而至,形势不容乐观。

52d0008ff66dcb1b3b5.jpg

那么,湖南卫视究竟错在哪儿呢?据资深电视人透露,单个的节目创新只是表面现象,湖南卫视的体制弊病才是最大的病因。正因为,湖南卫视多年来稳居第一,所以收视率的压力和包袱是最重的。因此,每走一步、每改一步它都不会迈得太快。不像东方、浙江,几年来与社会公司充分的进行资源整合、深度合作,大量推出新节目,其中不乏爆款。反观湖南卫视,因为不敢出错,试错成本又高,直到去年四季度才通过《旋风孝子》,走出引进外部团队的第一步。

用某业内人士的话说,“湖南手上有20多支制作团队,它最大的难处在于,引进外边公司,可能会让他们没活儿干、没饭吃。”也就说是,只要是在体制内工作,一旦触碰既得利益者的蛋糕,就是件很麻烦的事儿。

然而,就目前综艺市场的环境而言,“市场化”才是唯一的出路。以东方卫视为例,它的内部实行的是独立制片人制,把团队推向市场,意味着激烈的竞争、内容创新的压力和动力,以及市场化的回报。而在湖南卫视,“以前可以偷偷接活儿,现在管得严了,有的制片人甚至每周都得去台里报道。”

推荐阅读